苹果最新AR专利分析,光波导技术跑不了

本文由灵犀AR投稿
苹果在AR范畴深度布局现已不是什么新鲜事了,库克曾多次揭露说到,AR是一项最为根底且具有革新含义的技能,并表明将树立全球最大的AR渠道。
可是,苹果一贯对自己的新技能、新产品三缄其口,能够让外界了解到的揭露音讯甚少,这其间,与产品形状最为相关的光学技能天然备受重视。不过,在咱们不断的猜想中,苹果AR产品终究选用哪种计划,好像现已有了答案。
咱们从苹果近期曝光的一篇名为Optical System for Displays的PCT发明专利中捕捉到了一些十分有价值的信息,加之2017年末由苹果首要供货商之一
广达电脑泄漏
,广达正在为重要客户开发根据光波导技能的AR设备,据此估测,苹果AR中心光学技能直指光波导计划。

专利摘要附图FIG.2B如上,摘要部分这样说:一个电子设备,包含一个把图画显现到用户眼前的显现体系。显现体系包含图画显现单元和把光线偏折射向人眼的光学体系。这个光学体系包含一片波导上的耦入部分和耦出部分。耦入部分从图画显现单元将光线打入波导传输,耦出部分偏转光线方向朝向用户的眼睛。别的还有光线偏折设备能够把超出用户视界规模的光线偏折朝向用户的眼睛。
专利所用的言语一般翻译出来都显得僵硬,但其实是专利自身对言语描绘无歧义的要求所造成的。而这些描绘用人话来讲便是:咱们做了一种波导计划的AR显现模组。
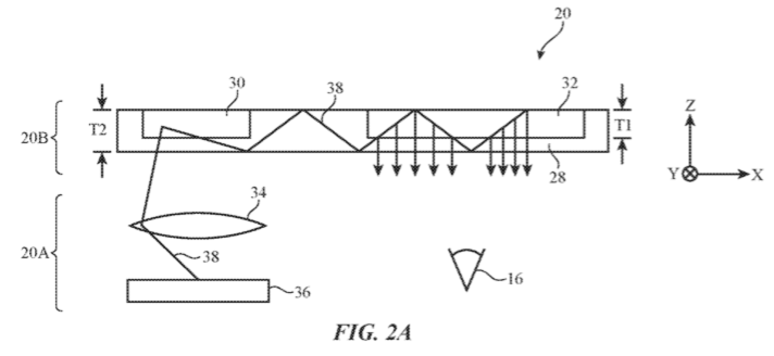
从而看后面的专利说明书,仍是咱们常见的波导计划的描绘办法,差异于FIG.2B的外表工艺,FIG.2A展现的是内嵌工艺的耦入耦出分块。图形显现36的画面光线经过透镜(组)34改换后,输入到耦入部分30中,经过耦入部分的偏折,从而在波导片中折叠传达,终究经过耦出部分32的再次偏折进入人眼16.

从正面看,它是这样的一块镜片:

这些其实都是咱们常见的波导计划描绘,但只要这些的话,专利是不具有创造性的,接下来便是苹果在这篇专利中的立异点:在常见计划根底上增加必定结构的波导设备,让经过波导的光线能更多地进入人眼,前进光线的使用率:

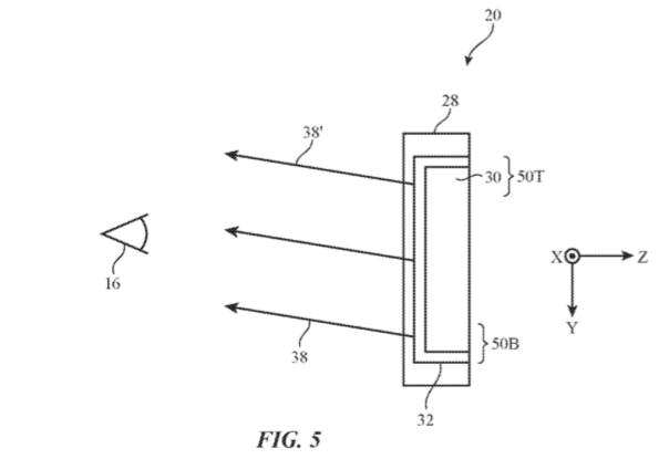
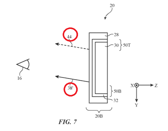
考虑到耦出部分的光线规模一般都大于人眼16的区域,如图FIG.5(波导片耦出侧视图)的光线38和38’很明显都无法进入人眼16,造成了光线的功率丢失,因而便增加了另一片波导片46(FIG.6所示),专门用于把行将射出人眼可视规模的光线44提早平移到38’的方位(FIG.6和FIG.7所示),经过平移的光线便能很容易地进入人眼16.


除了像FIG.6中所示,在耦入部分规划光线平移设备以外,也能够把光线平移的设备放在耦入和耦出之间的波导传输过程中或许耦出部分中。
在常见的光波导AR技能中,咱们一般会把输出光线的规模扩展(用专业的话讲便是扩展出瞳规模),让用户能在较大规模内都很方便地观察到镜片所显现的内容,但在能量上便会有必定的丢失。
而苹果的这种办法尽管能够前进显现光能使用功率,可是缩小的出瞳更需求其他方面更多技能的支撑,就比方半年前收买的SensoMotoric的眼球追寻技能,到此咱们更清楚了苹果下的这盘大棋的路数。
发明专利是办法的描绘,详细的完成还需求工艺支撑。关于光这种看得见摸不着的东西,越是垂手可得的办法,越需求更杂乱的工艺去支配这些每秒30万公里的不羁魂灵。
关于苹果AR产品的中心光学计划将选用光波导技能这件事,咱们也是根据对苹果2015年来在AR范畴各方面的布局来剖析估测。但能够确认的是,技能的前进总是经过忽然的严重腾跃而完成,2018年将成为AR职业超快速开展打破的一年,未来已来。
注:本文仅代表作者观念,并不代表本站态度。本文系作者授权动点科技宣布,未经许可,不得转载。